當前位置: 主頁 > 技術&應用 >
 

利用理想二極體實現穩健的電源

本文作者:Frederik Dostal       點擊: 2025-04-22 12:26
前言:
 
摘要
穩健的系統通常允許使用多個電源。使用多個不同電源為元件供電時,需要部署若干開關以將電源相互分隔開來,以防損壞。對此,固然可在電源路徑中使用多個二極體來實現,但更彈性、更高效的方法是使用理想二極體。本文將介紹此類理想二極體的優勢。文中將展示兩個版本的理想二極體:一個是無需根據電壓位準選擇輸入電源軌的理想二極體;另一個版本則更加簡單,始終由更高的電壓為系統供電。
 
引言
在許多應用中,可使用多個不同的電壓源進行供電。對於電池供電的裝置,除了使用主電源外,通常還可使用插入式電源作為備用方案。還有一種常見的做法,是透過一根USB線纜,使用牆插式AC-DC轉換器作為除主電源外的另一種供電方式。
 
元件供電方式的多樣化不僅對使用者有益,還能透過增加冗餘來提高穩健性。
 
若要使用多個不同的電壓源,在設計電路時就需要付出更多的努力。通常,必須確保一個電源不會逆向流入另一個電源,否則可能會造成損壞。圖1所示的簡易設定可保護未使用的電壓源。電源路徑中使用了二極體。此設定能夠可靠運行,但其中具有一大限制,即始終使用電壓較高的電源為負載供電。二極體在電源路徑中也出現了150mV至450mV的壓降,因此產生了高功耗,尤其是在低電壓時。對於電池供電的裝置而言,功耗增加會帶來不利的影響。 
圖1.電源路徑中有兩個具有二極體的電源為應用供電。
 
為了規避上述不利因素,可使用理想二極體。理想二極體是指使用開關(通常是MOSFET)而非二極體的元件。在導通狀態下,理想二極體的壓降更低。壓降基於流過開關的實際電流,取決於開關的導通電阻(RDS(ON))。
 
圖2所示的電路有兩個理想二極體,由兩個LT4422元件來執行理想二極體的功能。在這些積體電路中,由於電源路徑中的電阻較低,只有50 mΩ,因此壓降也很低。IC自身的功耗僅為10μA,進一步降低了總功耗。圖2還顯示了一個附加功能。可透過增加LED來作為指示燈,以在任何給定時間指出哪個電壓源正在為負載供電。
 
因此,圖2電路是圖1電路的替代方案,具有更低的功耗和更多的特性,比如LED指示燈。
 
圖2.兩個理想二極體具有更高的能效並可實現附加功能。
 
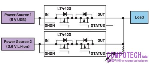
然而,在圖2的電路中,有一個特性保持不變,仍然是由電壓較高的電壓源為元件供電。理想二極體(LT4422)具有致能接腳((SHDN) ̅),但當IN電壓高於OUT電壓時,內建MOSFET的體二極體會導通。為了防止此種情況,LT4422的衍生產品LT4423應運而生,在電源路徑中使用兩個背對背連接的MOSFET,採用特定的排列方式,確保如果另一個MOSFET未同時導通,則相應的體二極體將不允許電流流動。
 
圖3.兩個理想二極體,電源的選擇與電壓源的相應值無關。
 
在圖3所示的電路設計中,可自由確定電源電壓來為負載供電。因此,電源的選擇與電源電壓的相應位準無關。然而,由於需要兩個整合的MOSFET,因此在導通時,電源路徑中的電阻從50 mΩ (LT4422)增加到了200 mΩ (LT4423)。
 
此外,具有有兩個MOSFET (LT4423)的版本並提供整合熱關斷功能。不同於傳統二極體,這個理想二極體在元件溫度超過160°C(典型值)時就會關斷。此特性有助於打造更加穩健的系統。
 
理想二極體不僅有助於為元件提供不同的電源選項,還能透過增加冗餘來提高穩健性。此外,理想二極體還可提供其他特性,例如透過LED檢測供電狀態、在溫度過高時進行關斷等。
 
結論
理想二極體非常適合取代普通二極體,其有助於在具有多個電源的系統中提升能效。除了降低功耗,此類理想二極體還兼具彈性和其他特性,而且易於使用,因此能夠便捷地應用到設計中,尤其是使用高度整合的元件(如LT4422和LT4423)時,應用上十分簡便。
 

 

電子郵件:look@compotechasia.com

聯繫電話:886-2-27201789       分機請撥:11